ng娱乐
您好,欢迎光临
ng娱乐
网站!
语言版本:
中文版
English
自主研发卫生间隔断配件
25
年
精密品质 缔造经典
ng娱乐
关于ng娱乐
公司简介
ng娱乐
工厂实景
资质证书
人才招聘
产品中心
精密系列
哥伽奥系列
亨域系列
德高系列
ng娱乐 资讯
公司资讯
行业动态
应用及案例
客户案例
服务与支持
ng娱乐 的优势
联系ng娱乐
联系方式
在线留言
English
ng娱乐
关于ng娱乐
产品中心
ng娱乐 资讯
应用及案例
服务与支持
联系ng娱乐
精密系列
哥伽奥系列
亨域系列
德高系列
精密系列
尼龙系列
锌合金系列
304不锈钢
铝合金系列
百变DIY门锁
散件系列
当前位置:
ng娱乐
>
产品中心
>
精密系列
>
锌合金系列
亮美斯金属隔断配件
亮美斯厕所五金隔断
金属隔断配件-亮美斯系列
产品详情
金属隔断配件-
亮美斯系列
METAL PARTITION FITTINGS
PARTITION FITTINGS SERIES--LIANGMEISI
亮美斯系列标准包装
Standard packing list
配件名称
Accessory
配件简略图
Drawing
配件数量
Number
脚座
Support leg
2只
(pcs)
门锁
Door lock
1把
(pc)
角码
Corner fastener
10只
(pcs)
衣帽钩
Clothes hanger
1只
(pc)
自动归位合页
Auto return hinge
1对
(pair)
亮美斯系列配件尺寸说明
Dimension description
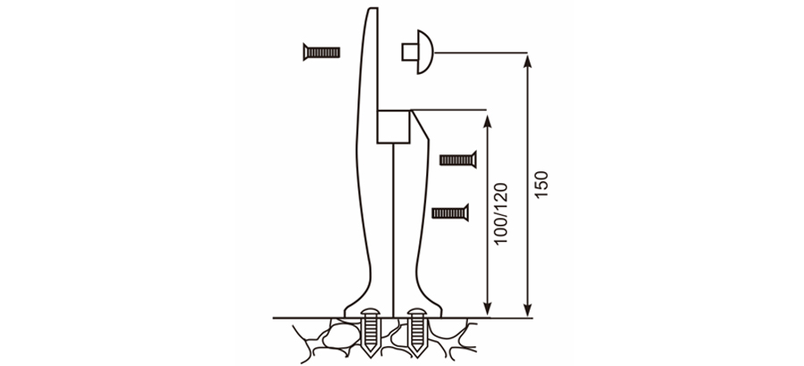
可调脚座 Adjustable Support Leg
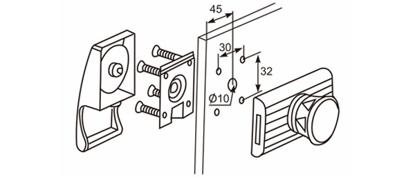
平门锁Flat Door Lock
衣帽钩 Clothes Hanger
角码 Corner Fastener
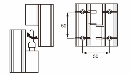
平门自动归位合页 Flat Door Hinge
相关产品
JM006
JM008
JM16
JM004
var _hmt = _hmt || []; (function() { var hm = document.createElement("script"); hm.src = "https://hm.baidu.com/hm.js?7b865d55fe5c0ec0b6112a63f149052c"; var s = document.getElementsByTagName("script")[0]; s.parentNode.insertBefore(hm, s); })();